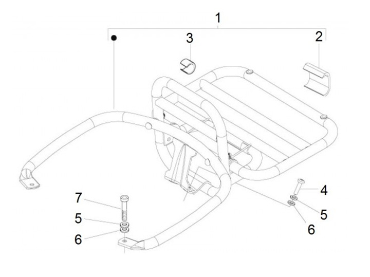
Rear rack
Vespa GTS 125 (2008, ZAPM31300)
Sort