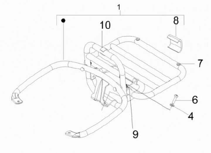
Rear rack
Vespa GTS 300ie Super Touring (2010, ZAPM45200)
Sort