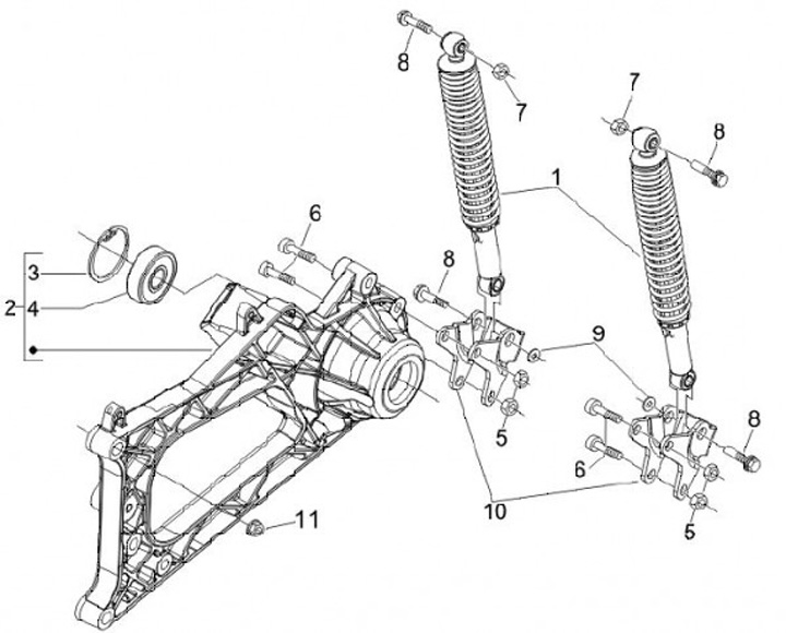
Rear shock absorber
Piaggio MP3 400 Touring LT (2011, ZAPM64200)
Sort