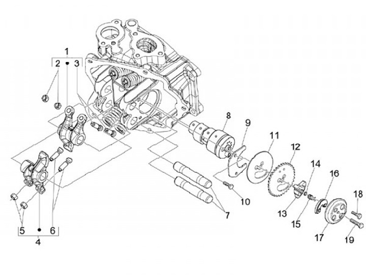
Rocker arm - camshaft
Piaggio Beverly 250 Tourer (2008, ZAPM28801)
Sort