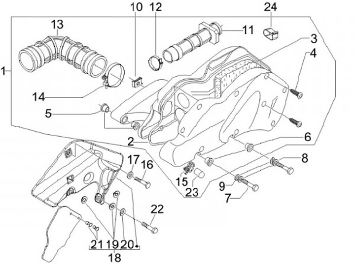
Air intake filter
Piaggio Beverly 250 Tourer (2008, ZAPM28801)
Sort