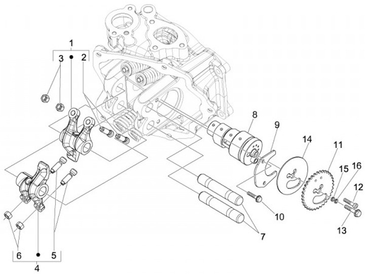
Rocker arm - camshaft
Vespa GTV 125 (2007, ZAPM31301) Navy
Sort