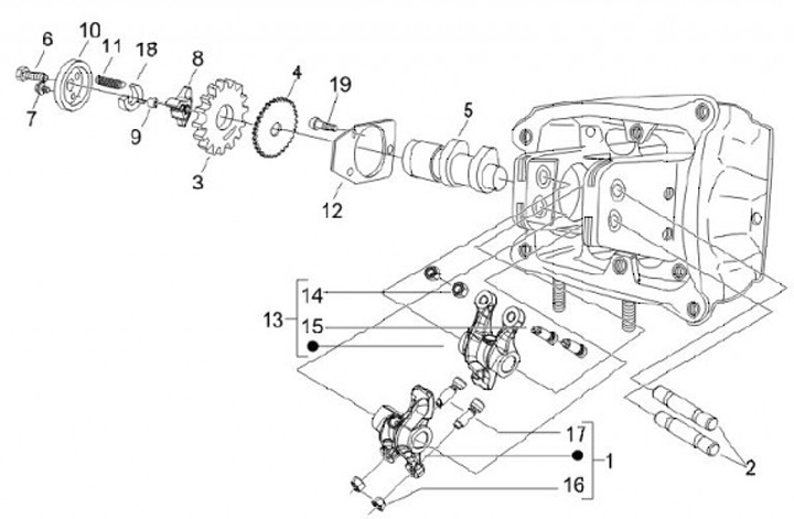
Rocker arm axle -PIAGGIO- Piaggio Beverly 400 (ZAPM34300, ZAPM34400), Piaggio Beverly 500 (ZAPM34100, ZAPM34200, ZAPM34500), Piaggio MP3 400 (ZAPM59102, ZAPM64200, ZAPM59101, ZAPM5910), Piaggio MP3 500 (ZAPM59200, ZAPM64300, ZAPM86100, ZAPM86101, ZAPTA120