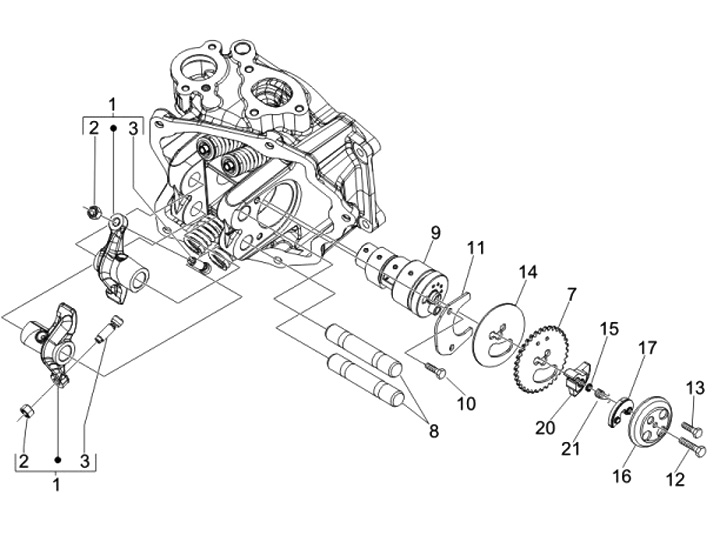
Rocker bar mounting
Piaggio X8 150 (2006, ZAPM49200)
Sort