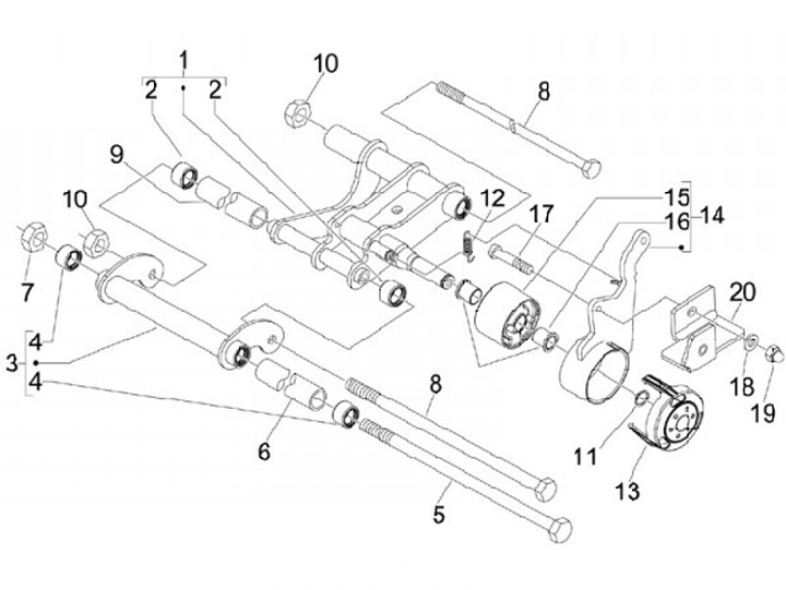
Rocker bar
Gilera Runner 125 VX ST (2008, ZAPM46301)
Sort