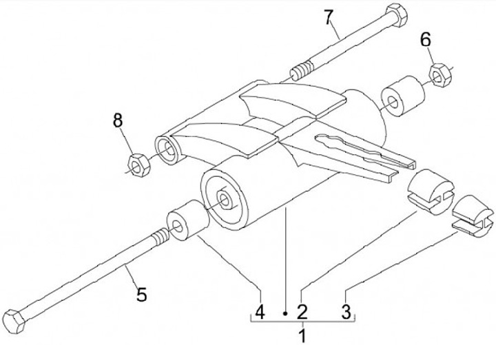
Rocker bar
Gilera Stalker 50 (2009, ZAPC40100)
Sort