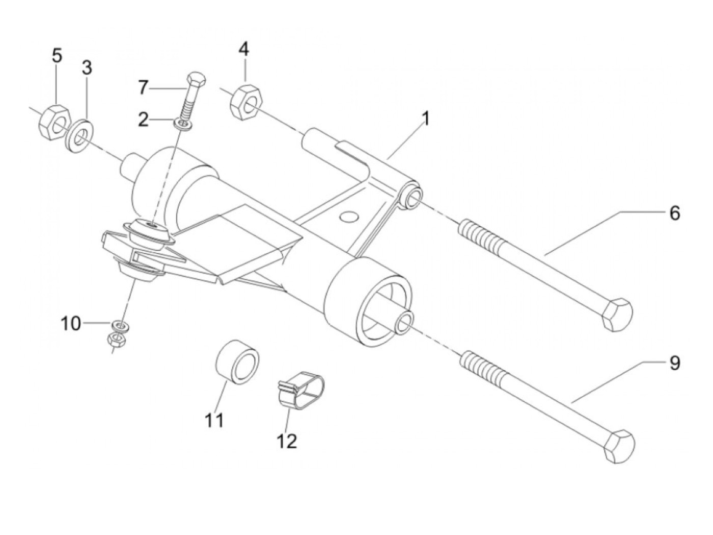
Rocker bar
Vespa LX 50 Touring (4-stroke, 2010, ZAPC38700)
Sort