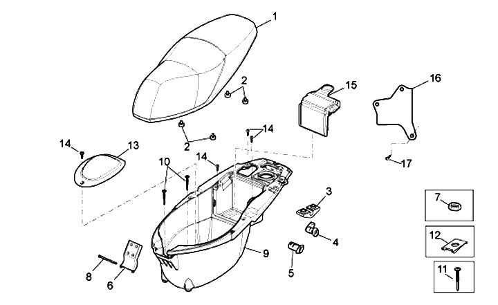
Seat
Aprilia Sport City One 50 (2-stroke, 2010-2011, ZD4SBA00)
Sort