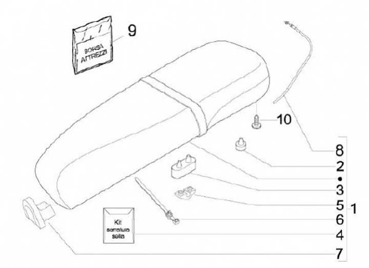
Seat
Vespa LX 50 Touring (4-stroke, 2013, ZAPC38700)
Sort