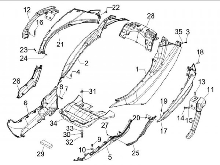
Side cover
Piaggio MP3 400 MIC (2008, ZAPM59102)
Sort