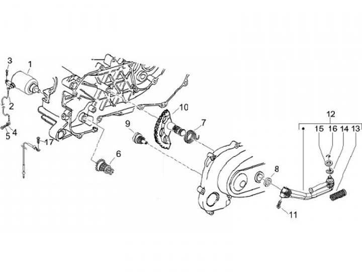
Starter motor - kickstarter
Gilera Stalker 50 Special Series (2007, ZAPC40100)
Sort