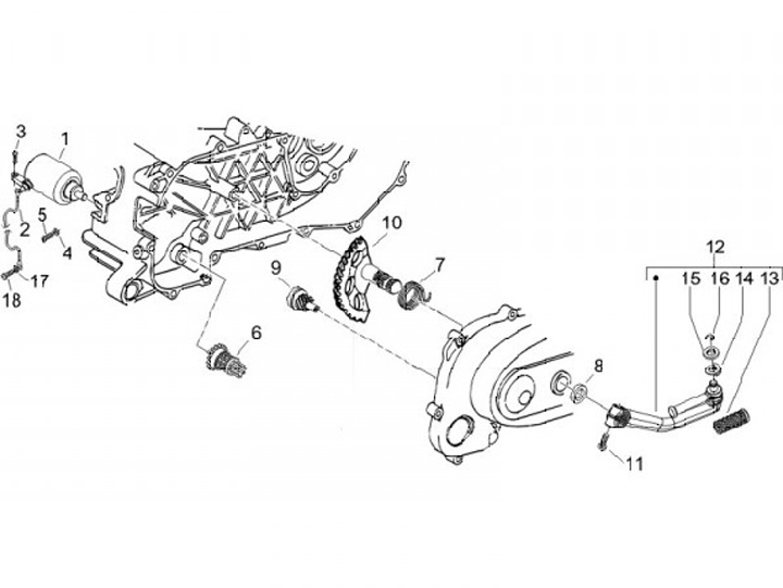
Starter motor - kickstarter
Piaggio Liberty 50 Sport (2-stroke, 2006, ZAPC42106)
Sort