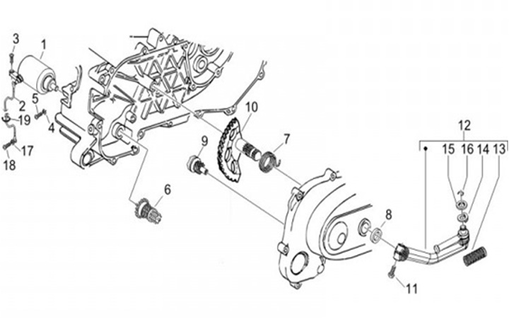
Starter motor - kickstarter
Piaggio NRG 50 Power DD (2005, ZAPC45300)
Sort