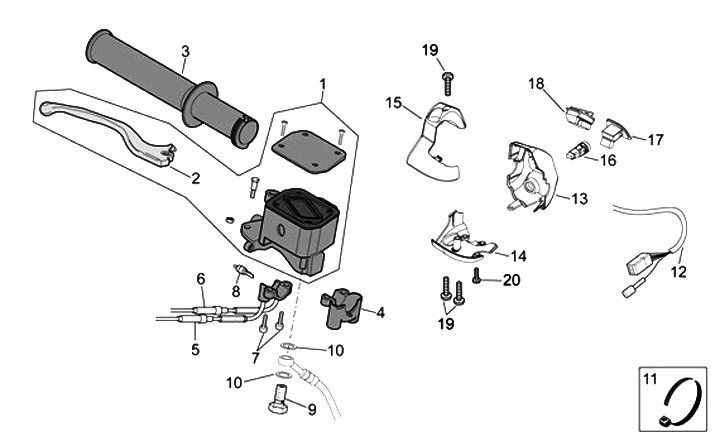
Switches rhs
Aprilia Scarabeo Light 300 (2009-2010, ZD4VRG)
Sort