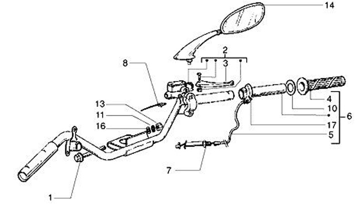
Throttle grip
Vespa ET4 50 (1998, ZAPC26000)
Sort