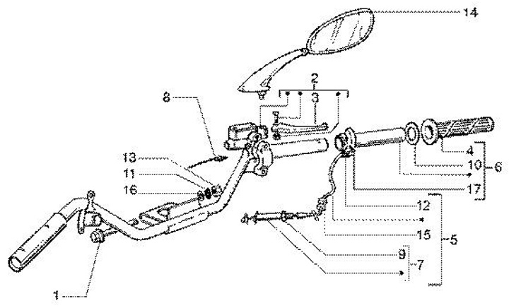
Throttle grip
Vespa ET4 50 (2001, ZAPC26100)
Sort