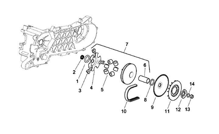
Variator - CVT
Aprilia SR 50 Street (2008-2010, ZD4TEA)
Sort