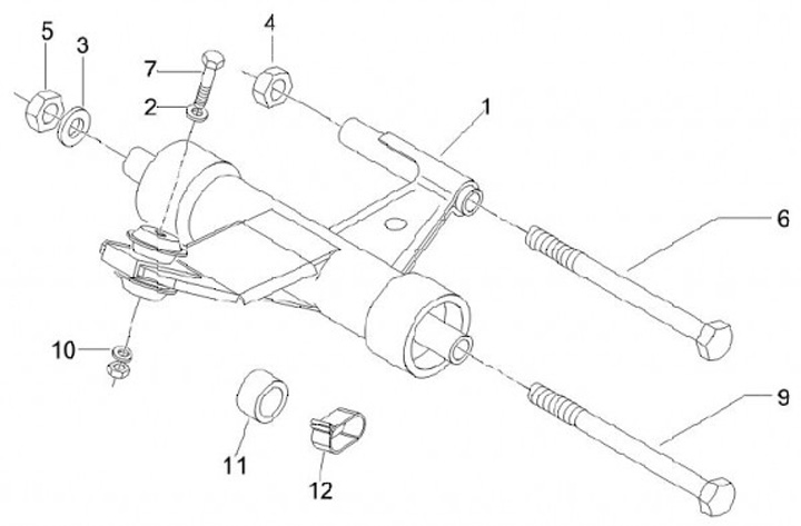
Basculante
Vespa LX 50 Touring (4-tiempos, 2011, ZAPC38700)
Ordenar