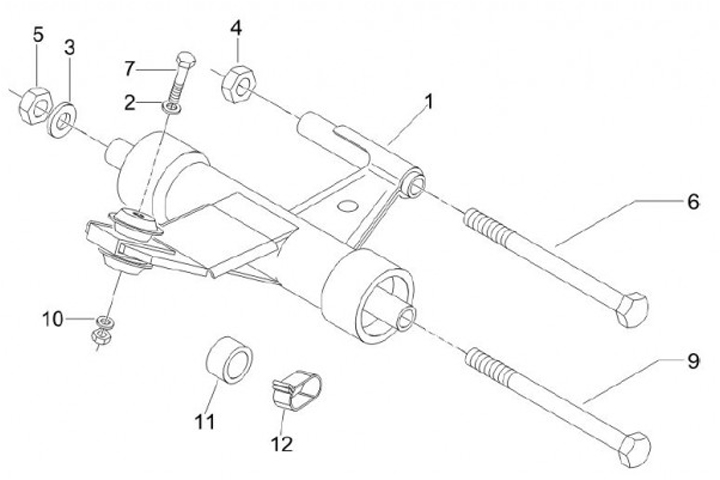
Basculante
Vespa S 125 (2012, ZAPM68301)
Ordenar