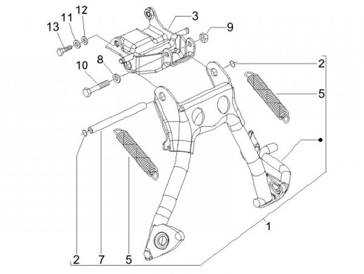
Caballete central
Gilera Runner 50 RST SP (2006, ZAPC46100)
Ordenar