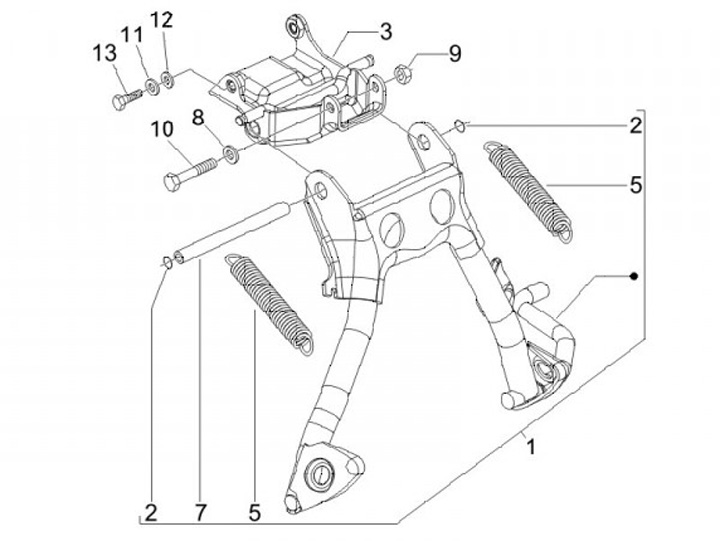
Caballete central
Gilera Runner 50 RST SP (2007, ZAPC46100)
Ordenar