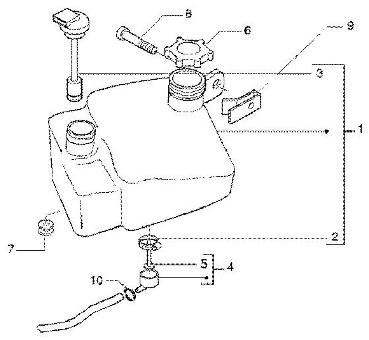
Depósito de aceite
Gilera DNA 50 GP-Experience (2004, ZAPC27000)
Ordenar