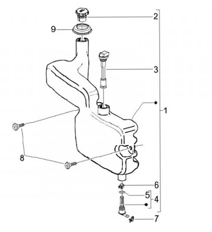
Depósito de aceite
Gilera Piaggio Storm 50 (2007-2008, ZAPC29000)
Ordenar