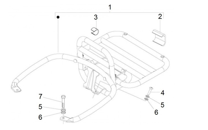
Portaequipajes trasero
Vespa GTS 125 (2011, ZAPM31300)
Ordenar