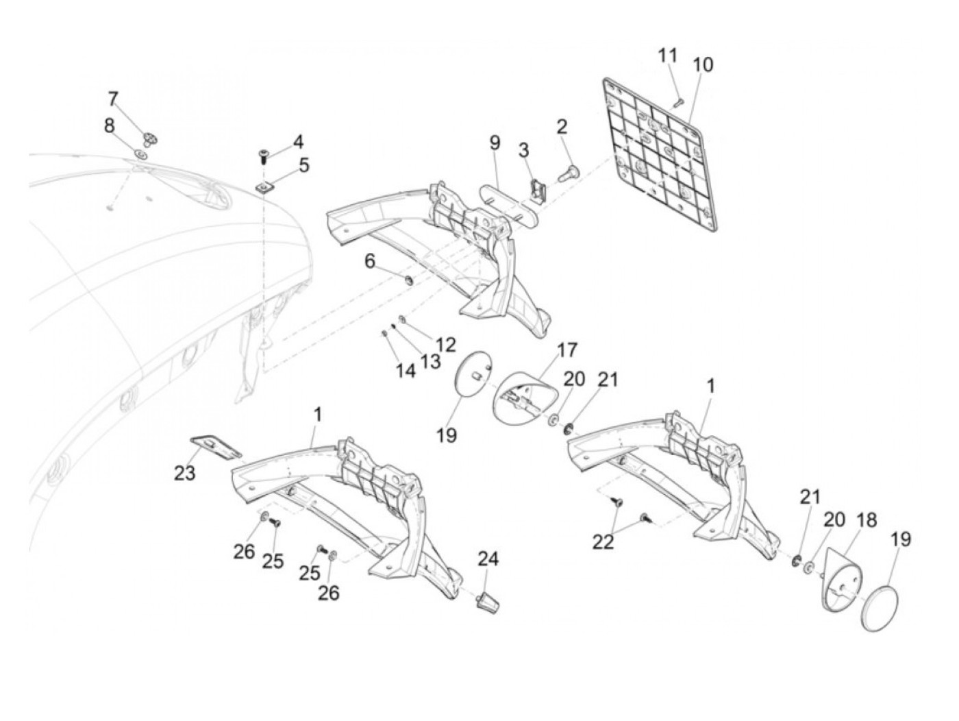
Portamatrículas
Vespa 946 125 (2019-2020, ZAPM80101) Red
Ordenar