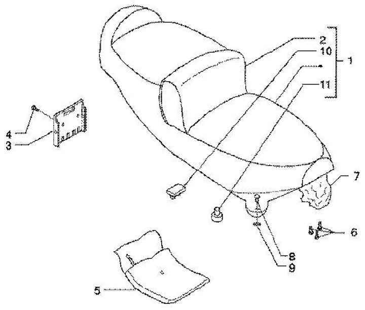
Sillín
Piaggio X9 200 (2000-2002, ZAPM23000)
Ordenar