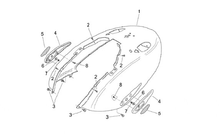
Carénage latéral
Aprilia Mojito 125 Custom (2003-2007, ZD4RY)
Trier