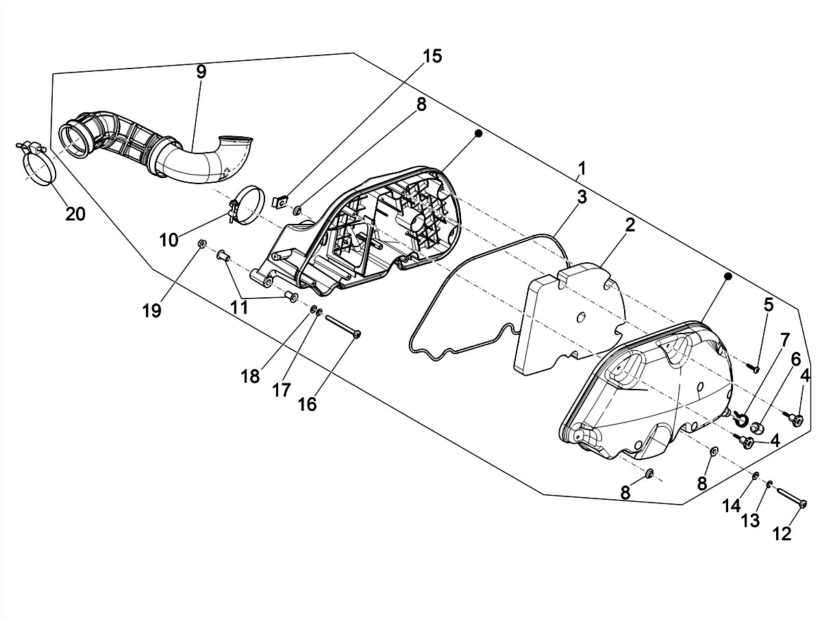
Filtre à air
Vespa GTV 300 Keyless HPE (2023-2024, ZAPMD3108)
Trier