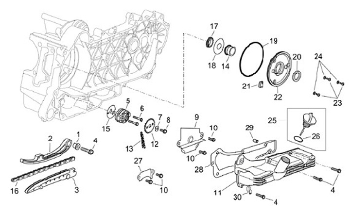
Pompe à huile
Aprilia Scarabeo 125 (2003-2006, ZD4TD)
Trier