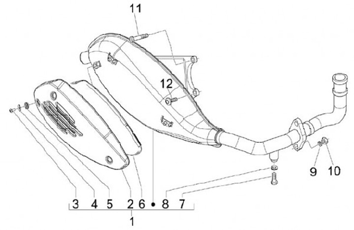
Knalpot
Vespa S 50 (2-tak, 2011, ZAPC38103)
Urutkan