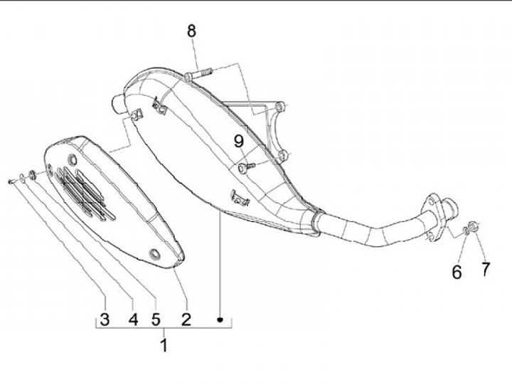
Knalpot
Vespa S 50 (4-tak, 2009, ZAPC38600)
Urutkan