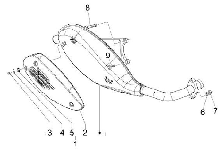
Knalpot
Vespa S 50 Sport (4-tak, 2013, ZAPC38600)
Urutkan