Setang Ii
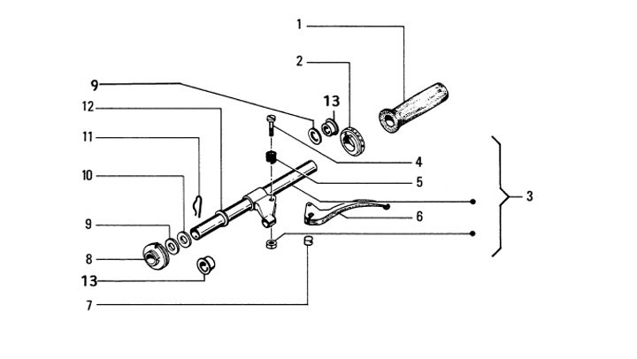
Vespa Cosa 150 FL (VLR2T)
Urutkan