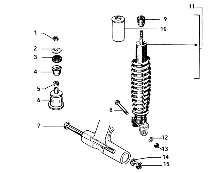
Sistem Penggantung Belakang
Vespa Cosa 150 FL (VLR2T)
Urutkan