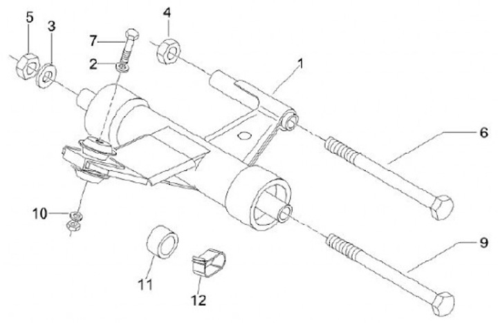
Braccio oscillante
Vespa LX 125 Touring (2011, ZAPM68100)
Ordinamento