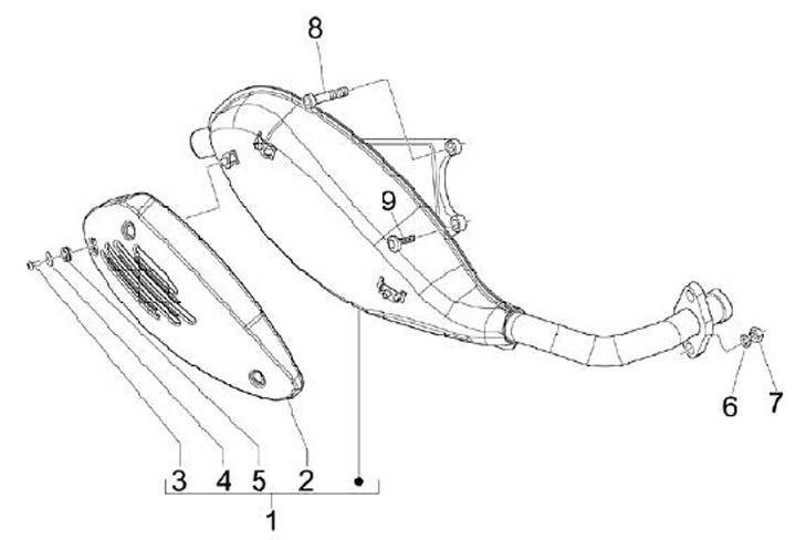
Marmitta
Vespa S 50 FL (4-tempi, 2013, ZAPC38600)
Ordinamento