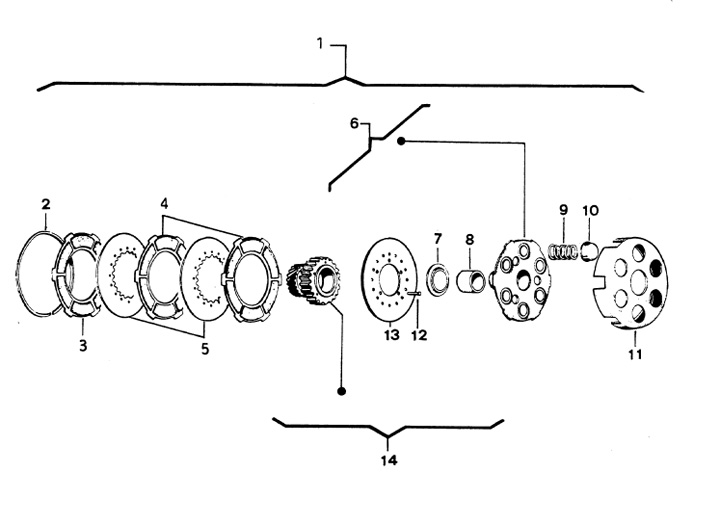
Clutch
Vespa Cosa 125 CL (VNR1T)
Sort