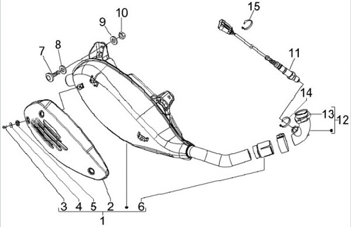
Exhaust
Vespa GTS 300ie Super (2009, ZAPM45200)
Sort