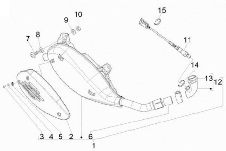
Exhaust
Vespa GTV 300ie (2010, ZAPM45201) Via Montenapoleone
Sort