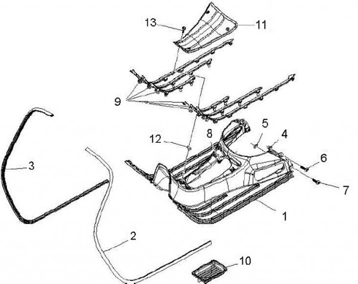
Footboard
Vespa GTV 300ie (2010, ZAPM45201)
Sort