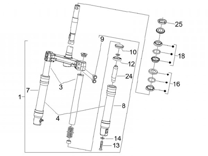
Fork - steering set
Piaggio Fly 125 (2007, LBMM57100)
Sort