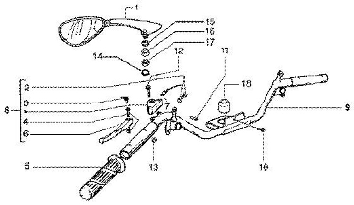
Handlebar - clutch grip
Vespa ET4 150 (2004, ZAPM1900001)
Sort