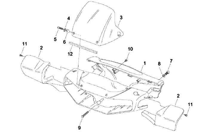
Handlebar top rear part
Aprilia Amico 50 (1993-1995, GL/HU)
Sort