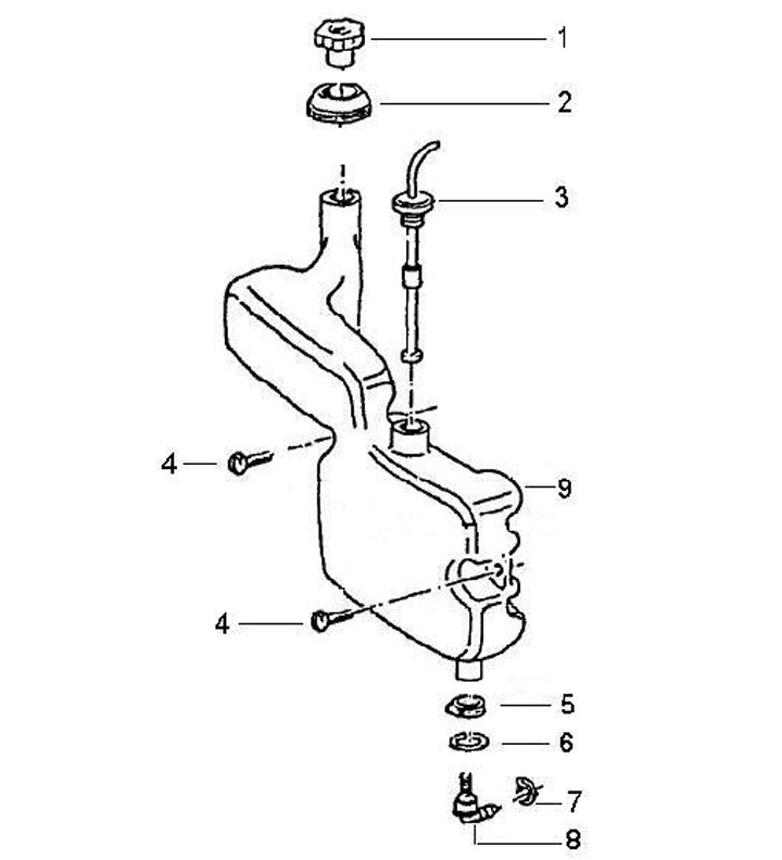
Oil tank
Piaggio TPH 80 (1994-1996, TE81T)
Sort