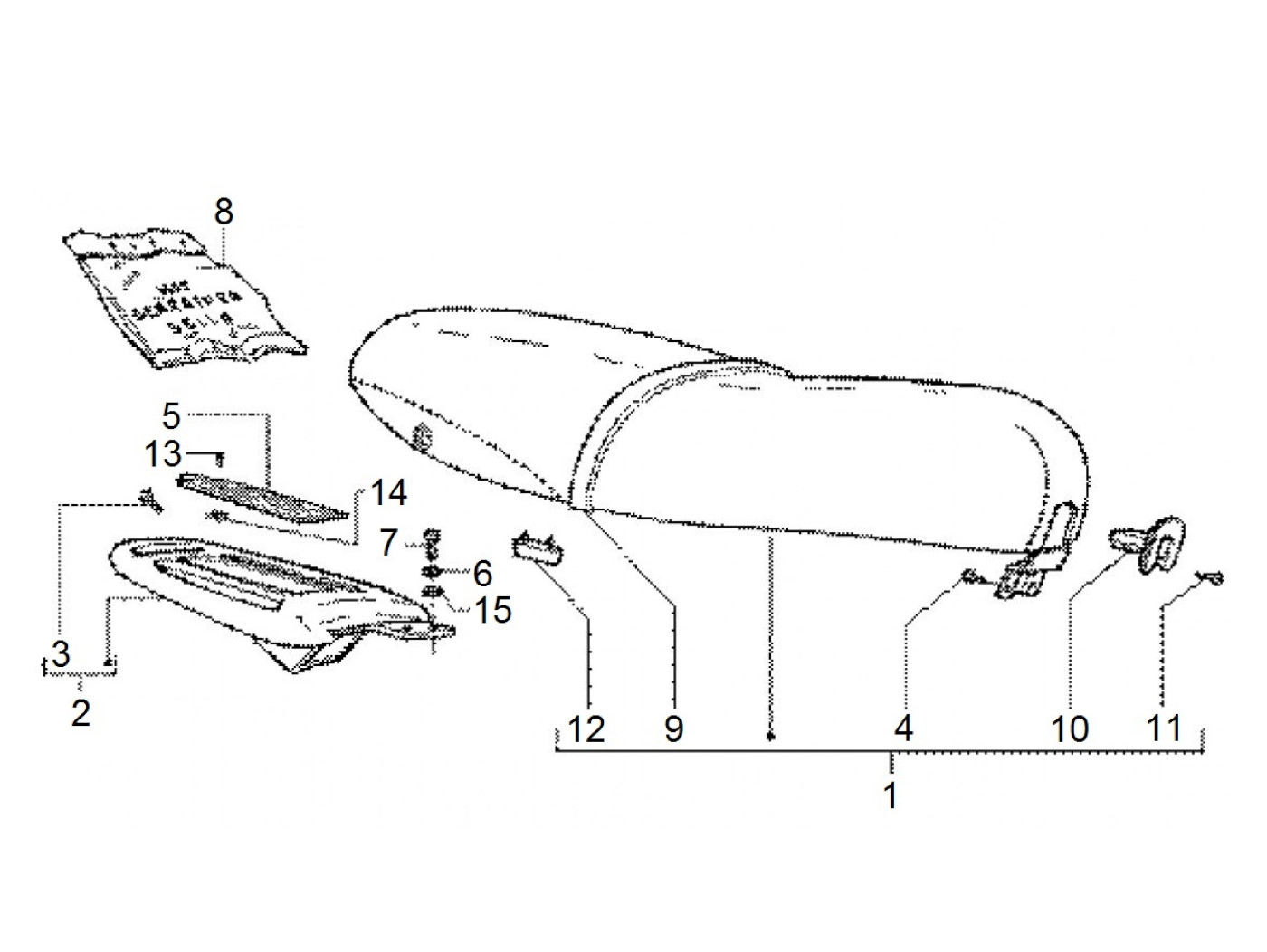
Seat
Vespa ET4 150 (2001, ZAPM19000)
Sort