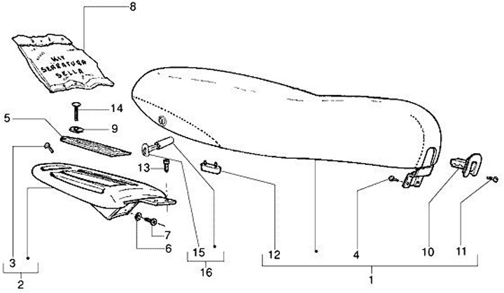
Seat
Vespa ET2 50 Iniezione (1998, ZAPC12000)
Sort